Tubo de rayos X: anuncio de nuevos productos

2025-09-02 - Déjame un mensaje

High Hope Inc. está muy orgulloso de anunciar nuestro recién desarrolladoTubo de rayos X—— XC 24.


Presupuesto:

P/N
Voltaje nominal Ángulo objetivo Punto focal Capacidad de almacenamiento de calor del ánodo Tasa de disipación de calor del ánodo máximo Protector
XC24 100 kV 15 ° 1.0 mm 45 Zona (31.5 kJ) 19.4 Zona / min fibra de vidrio/ plomo


Pruebas:

P/N
Prueba de alto voltaje 1 Prueba de alto voltaje 2 Prueba de exposición
XC24 100 kV / 1 mA / 10 min 110 kV / 1 Ma / 15 min 100 kV / 15 mA / 3 segundos



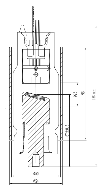
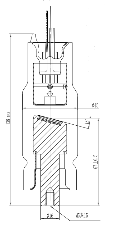
Describir:

Sin blindaje (arriba)


Con blindaje (arriba)

Fibra de vidrio: φ 54

plomo: φ 58


Enviar Consulta

X
Utilizamos cookies para ofrecerle una mejor experiencia de navegación, analizar el tráfico del sitio y personalizar el contenido. Al utilizar este sitio, acepta nuestro uso de cookies. política de privacidad